固体绝缘材料体积电阻率和表面电阻率试验方法
1 范围
本标准规定了固体绝缘材料体积电阻率和表面电阻率的试验方法。这些试验方法包括对固体绝缘材料体积电阻和表面电阻的测定程序及体积电阻率和表面电阻率的计算方法。
体积电阻和表面电阻的试验都受到下列因素影响:施加电压的大小和时间;电极的性质和尺寸;在试样处理和测试过程中周围大气条件和试样的温度、湿度。
2 定义
下列定义适用于本标准
2.1 体积电阻 volume resistance
在试样两相对表面上放置的两电极间所加直流电压与流过这两个电极之间的稳态电流之商,不包括沿试样表面的电流,在两极上可能形成的极化忽略不计。
注:除非另有规定,体积电阻是在电化一分钟后测定。
2.2 体积电阻率 volume resistivity
在绝缘材料里面的直流电场强度和稳态电流密度之商,即单位体积内的体积电阻。
注:体积电阻率的SI单位是Ω· m。实际上也使用Ω·cm这一单位。
2.3 表面电阻 surface resistance
在试样的其表面上的两电极间所加电压与在规定的电化时间里流过两电极间的电流之商,在两电极上可能形成的极化忽略不计。
注1:除非另有规定,表面电阻是在电化一分钟后测定。
注2:通常电流主要流过试样的一个表面层,但也包括流过试样体积内的成分。
2.4 表面电阻率 surface resistivity
在绝缘材料的表面层里的直流电场强度与线电流密度之商,即单位面积内的表面电阻。面积的大小是不重要的。
注:表面电阻率的S1单位是Q。实际上有时也用“欧每平方单位”来表示。
2.5 电极 electrodes
电极是具有一定形状、尺寸和结构的与被测试样相接触的导体。
注:绝缘电阻是加在与试样相接触的两电极之间的直流电压与通过两电极的总电流之商。绝缘电阻取决于试样的表面电阻和体积电阻。
3 意义
3.1 通常,绝缘材料用于将电气系统的各部件相互绝缘和对地绝缘;固体绝缘材料还起机械支撑作用。对于这些用途,一般都希望材料具有尽可能高的绝缘电阻,有均匀一致的、得到认可的机械、化学和耐热性能。表面电阻随湿度变化很快,而体积电阻随温度变化却很慢,尽管其最终的变化也许较大。
3.2 体积电阻率能被用作选择特定用途绝缘材料的一个参数。电阻率随温度和湿度的变化而显著变化,因此在为一些运行条件而设计时必须对其了解。体积电阻率的测量常被用于检查绝缘材料生产是否始终如一,或检测能影响材料质量而又不能用其他方法检测到的导电杂质。
3.3 当一直流电压加在与试样相接触的两电极之间时,通过试样的电流会渐近地减小到一个稳定值。电流随时间的减小可能是由于电介质极化和可动离子位移到电极所致。对于体积电阻率小于loll n"m的材料,其稳定状态通常在一分钟内达到,因此,经过这个电化时间后测定电阻。对于体积电阻率较高的材料,电流减小的过程可能会持续到几分钟、几小时、几天甚至几星期。因此对于这样的材料,采用较长的电化时间,且如果合适,可用体积电阻率与时间的关系来描述材料的特性。
3.4 由于或多或少的体积电导总是要被包括到表面电导测试中去,因此不能精确而只能近似地测量表面电阻或表面电导。测得的值主要反映被侧试样表面污染的特性。而且试样的电容率影响污染物质的沉积,它们的导电能力义受试样的表面特性所影响。因此,表面电阻率不是一个真正意义的材料特性,而是材料表面含有污染物质时与材料特性有关的一个参数。
某些材料如层压材料在表面层和内部可能有很不同的电阻率,因此测量清洁的表面的内在性能是有意义的。应完整地规定为获得一致的结果而进行清洁处理的程序,并要记录清洁过程中溶剂或其他因素对于表面特性可能产生的影响。
表面电 阻,特别是当它较高时,常以不规则方式变化,且通常非常依赖于电化时间。因此,测量时通常规定一分钟的电化时间。
4 电源
要求有很稳定的直流电压源。这可用蓄电池或一个整流稳压的电源来提供。对电源的稳定度要求是由电压变化导致的电流变化与被测电流相比可忽略不计。
加到整个试样上的试验电压通常规定为100V,250V,500V,1000V,2500V,5000V,10000V和15000V。最常用的电压是100V,500V和1000V。
在某些情况下,试样的电阻与施加电压的极性有关。
如果电阻是与极性有关的,则宜加以注明。取两次电阻值的几何平均值(对数算术平均值的反对数)作为结果
由于试样电阻可能与电压有依存关系,因此应在报告中注明试验电压值。
5 测量方法和精确度
5.1 方法
测量高阻常用的方法是直接法或比较法。
直接法是测量加在试样上的直流电压和流过他的电流(伏安法)而求得未知电阻。
比较法是确定电桥线路中试样未知电阻与电阻器已知电阻之间的比值,或是在固定电压下比较通过这两种电阻的电流。
5.2 精确度
对于低于1010 Ω的电阻,测量装置测量未知电阻的总精确度应至少为士1000。而对于更高的电阻,总精确度应至少为士20%。
5.3 保护
组成测量线路的绝缘材料,最好应具有与被试材料差不多的性能。试样的测量误差可以由下列原因产生:
(a) 外来寄生电压引起的杂散电流,通常不知道它的大小,并具有漂移的特点;
(b) 具 有未知而易变的电阻值的绝缘与试样电阻、标准电阻器或电流测量装置的不正常的分路。
使线路所有部分在使用状态下有尽可能高的绝缘电阻来近似地修正这些影响因素。这种做法可能导致测试设备很笨重,而又不足以测量高于几百兆欧的绝缘电阻较为满意的修正方法是使用保护技术来实现。
保护就 是在所有关键的绝缘部位插人保护导体,保护导体截住所有可能引起误差的杂散电流这些保护导体联接在一起,组成保护系统并与测量端形成三端网络。当线路联接恰当时,所有外来寄生电压产生的杂散电流被保护系统分流到测量电路以外,任一测量端到保护系统的绝缘电阻与一电阻低得多的线路元件并联,试样电阻仅限于两测量端之间。采用这个技术可大大地减小误差概率。图1为使用保护电极测量体积电阻和表面电阻的基本线路。
图5和图7给出了电流测量法中保护系统的使用方法,图中指出保护系统接到电源和电流测量装置的连接点。图6表示惠斯登电桥法,其保护系统接到两个较低电阻值的桥臂的连接点上。在所有情况下,保护系统必须完善,包括对测试人员在测量时操作的任何控制仪器的保护。
在保护端和被保护端之间所存在的电解电动势、接触电动势或热电动势较小时,均能被补偿掉,使这样的电动势在测量中不会引人显著的误差。
在电流测量法中,由于电流测量装置与被保护端和保护系统之间的电阻并联可能产生误差,因此,这个电阻宜至少为电流测量装置电阻的10倍,最好为100倍。在有些电桥法中,保护端和侧量端具有大致相同的电位,不过电桥中的一个标准电阻器与不保护端和保护系统之间的电阻是并联的。这个电阻应至少为标准电阻的10倍,最好为100倍。
为确保设备的操作令人满意,应先断开电源和试样的连线进行一次测量。此时,设备应在它的灵敏度许可范围内指示出无穷大的电阻。如果有一些已知电阻值的标准电阻,则可用来检查设备运行是否良好。
6 试样
6.1 体积电阻率
为测定体积电阻率,试样的形状不限,只要能允许使用第三电极来抵消表面效应引起的误差即可。对于表面泄漏可忽略不计的试样,测量体积电阻时可去掉保护,只要已证明去掉保护对结果的影响可忽略不计。
在被保护电极与保护电极之间的试样表面上的间隙要有均匀的宽度,并且在表面泄漏不致于引起测量误差的条件下间隙应尽可能的窄。1 mm的间隙通常为切实可行的最小间隙。
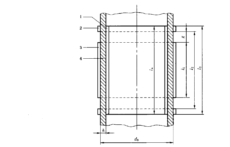
图2及图3给出了三电极装置的例子。在测量体积电阻时,电极1是被保护电极,电极2为保护电极,电极3为不保护电极被保护电极的直径d1(图2)或长度l1(图3)应至少为试样厚度h的10倍,通常至少为25 mm。不保护电极的直径d4(或长度l4)和保护电极的外直径d3(或保护电极两外边缘之间的长度l3)应该等于保护电极的内径d2(或保护电极两内边缘之间的长度l2)加上至少2倍的试样厚度。
6.2 表面电阻率
为测定表面电阻率,试样的形状不限,只要允许使用第汽电极来抵消体积效应引起的误差即可。推荐使用图2及图3所示的三电极装置。用电极1作为被保护电极,电极3作为保护电极,电极2作为不保护电极。可直接测量电极1和2之间表面间隙的电阻。这样测得的电阻包括了电极1和2之间的表面电阻和这两个电极间的体积电阻。然而,对于很宽范围的环境条件和材料性能,当电极尺寸合适时,体积电阻的影响可忽略不计。为此,对于图2和图3所示的装置,电极的间隙宽度9至少应为试样厚度的2倍,一般说来,1mm为切实可行的最小间隙。被保护电极尺寸d,(或长度l,)应至少为试样厚度h的10倍,通常至少为25 mm。
也可以使用条形电极或具有合适尺寸的其他装置。
注:由于通过试样内层的电流的影响,表面电阻率的计算值与试样和电极的尺寸有很大的关系,因此,为了测定时可进行比较,推荐使用与图2所示的电极装置的尺寸相一致的试样,其中d1=50mm,d2=60 mm,d3=80mm
7 电极材料
7.1 概述
绝缘材料用的电极材料应是一类容易加到试样上、能与试样表面紧密接触、且不至于因电极电阻或对试样的污染而引入很大误差的导电材料。在试验条件下,电极材料应能耐腐蚀。下面是可使用的一些典型的电极材料。电极应与给定形状和尺寸的合适的背衬电极一同使用。
简便的做法是用两种不同的电极材料或两种不同的使用方法来了解电极材料是否会引入很大误差。
7.2 导电银漆
某些高导电率的商品银漆,无论是气干的或低温烘干的,是足够疏松的、能透过湿气,因此可在加上电极后对试样进行条件处理。这种特点特别适合研究电阻一湿气效应以及电阻随温度的变化。然而,在导电漆被用作一种电极材料以前,应证实漆中的溶剂不影响试样的电性能。用精巧的毛刷可做到使保护电极的边缘相当光滑。但对于圆电极,可先用圆规画出电极的轮廊,然后用刷子来涂满内部的方法来获得精细的边缘。如电极漆是用喷枪喷上去的,则可采用固定模框。
7.3 喷镀金属
可使用能满意地粘合在试样上的喷镀金属。薄的喷镀电极的优点是一旦喷在试样上便可立即使用。这种电极或许是足够疏松的,可允许对试样进行条件处理,但这一特点应被证实。固定的模框可用来制取被保护电极与保护电极之间的间隙。
7.4 蒸发或阴极真空喷镀金属
当能证明材料不受离子轰击或真空处理的影响时,蒸发或阴极真空喷镀金属能在7.3给出的相同条件下使用。
7.5 液体电极
使用液体电极往往能得到满意的结果。构成上电极的液体应被框住,例如用不锈钢环来框住,每个环的下边缘在不接触液体的一面被斜削成锐边。图4给出了使用液体电极的装置。不推荐长期使用或在高温下使用水银,因为它有毒。
7.6 胶体石墨
分散在水中或其他合适媒质中的胶体石墨可在与7.2给出的相同条件下使用。
7.7 导电橡皮
导电橡皮可用作电极材料。它的优点是能方便快捷地放上和移开。由于只是在测定时才将电极放到试样上,因此它不妨碍试样的条件处理。导电橡皮应足够柔软,以确保其在加上适当的压力例如2 kPa(0. 2 N/cm2)时能与试样紧密接触。
7.8 金属箔
金属箔可粘贴在试样表面作为测量体积电阻用的电极,但它不适用于测量表面电阻。铅、锑铅合金、铝和锡箔都是被普遍使用的。通常用少量的凡士林、硅脂、硅油或其他合适的材料作为粘贴剂将它们粘贴到试样上去含有下列组分的一种药用胶适合用作导电粘贴剂:
要在一个平稳的压力下粘贴电极,使之足以消除一切皱折和将多余的粘合剂赶到箔的边缘,再用一块干净的薄纸擦去。用软物如手指按压能很好地做到这点。这个技巧仅适用于表面非常平滑的试样。通过精心操作,粘合剂薄层可减小到0.0025mm或更薄。
分子量为600的无水聚乙二醇
800份(质量)
水
200份(质量)
软肥皂(药用级)
1份(质量)
氯化钾
10份(质量)
8 试样处置
电极之间或测量电极与大地之间的杂散电流对于测试仪器的读数没有明显的影响这一点很重要。测试时加电极到试样上和安放试样时均要极为小心,以免可能产生对测试结果有不良影响的杂散电流通道。
测量表面电阻时,不要清洗表面,除非另有协议或规定。除了同一材料的另一个试样的未被接触过的表面可触及被测试样外,表面被测试部分不应被任何东西触及。
9 条件处理
体积电阻率和表面电阻率都对温度变化特别敏感。这种变化是指数式的。因此必须在规定的条件下来测量试样的体积电阻和表面电阻。由于水分被吸收到电介质内是相对缓慢的过程,因此测定湿度对体积电阻率的影响需要延长处理期。吸收水分后通常会降低体积电阻。有些试样可能需要处理数月才能达到平衡。
10 试验程序
试样按本标准第6章、第7章、第8章、第9章进行准备。
测量试样及电极的尺寸、表面间隙的宽度9(两电极之间距离),精确到士1%。然而,如有必要,对薄试样可在有关的规范中规定不同的精确度。
为测定体积电阻率,应按照有关的规范测量每个试样的平均厚度,其厚度测量点应均匀地分布在由被保护电极所覆盖的整个面积上
注:对于薄试样无论如何在加上电极前测量厚度
一般说来,应与条件处理时相同的湿度(浸在液体中的条件处理除外)和温度下测试电阻。但有时也可在停止条件处理后的规定时间内进行测量。
10.1 体积电阻
在测试以前应使试样具有电介质稳定状态。为此,通过测量装置将试样的测量电极1和3短路,逐步增加电流测量装置的灵敏度到符合要求,同时观察短路电流的变化,如此继续到短路电流达到相当恒定的值为止,此值应小于电化电流的稳定值,或者小于电化100min的电流。由于短路电流有可能改变方向,因此即使电流为零,也要维持短路状态到需要的时间。当短路电流I0变得基本恒定时(可能需要几小时),记下I的值和方向。
然后加上规定的直流电压并同时开始记时。除非另有规定,在如下每个电化时间作一次测量:1min,2min,5min,10min,50min,100min。如果两次连续测量得出同样的结果,则可以结束试验并用这个电流值来计算体积电阻。记录第一次观察到相同测量结果时的电化时间。如果在100min内不能达到稳定状态,则记录体积电阻与电化时间的函数关系。
作为验收试验,按照有关规范的规定,使用一个固定的电化时间如1min后的电流值来计算体积电阻率。
10.2 表面电阻
施加规定的直流电压,测定试样表面的两个测量电极间的电阻。应在1min的电化时间后测量电阻,即使在此时间内电流还没有达到稳定的状态。
11 计算
11.1 体积电阻率
体积电阻率按下式计算:


11.2 表面电阻

11.3 重现性

12 报告







